Los 6×6 están de moda. Gracias a CarBuzz hemos conocido una interesante patente de Ford que consiste en un sistema de doble eje trasero para pick ups. Se trata, además, de un sistema que se atornilla al chasis y que parece ser que permitiría convertir el eje trasero de un Ford F-150 en un doble eje, tal y como puede apreciarse en los dibujos técnicos de la patente.
A priori, parece una pequeña locura, pero no hay que olvidar que el Ford F-150 sigue siendo, a día de hoy, el vehículo más vendido en Estados Unidos, y ya hay especialistas que lo transforman en un 6×6, cobrando auténticas fortunas a quien esté dispuesto a pagar por ello, así que ¿por qué iba Ford a renunciar a un trozo de esa interesante tarta generada alrededor de su pick up más icónico?

El 6×6 de Ford sería híbrido
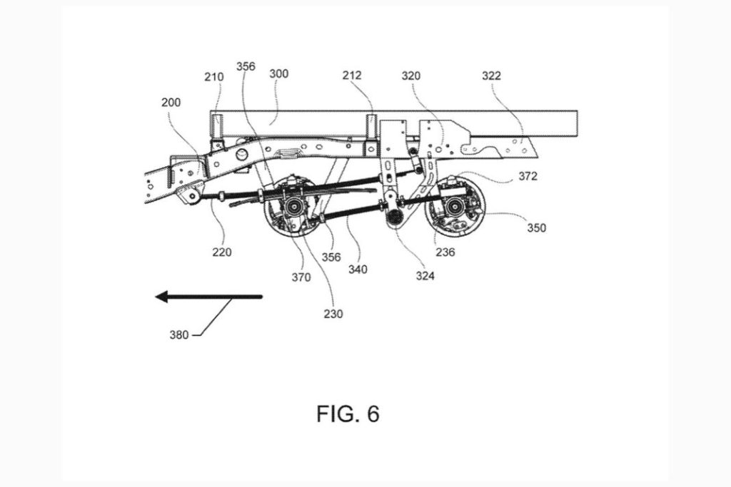
La patente para este kit de conversión 6×6 ha sido presentada ante la Oficina de Patentes y Marcas de los Estados Unidos (USPTO), y se ha publicado el pasado 12 de septiembre. Aparte de los diferentes dibujos, que son bastante claros, el texto de la patente habla de “un kit de extensión de carga útil que se puede acoplar al chasis de forma no permanente”.
Así que además de duplicar el eje trasero convencional del pick up, el sistema permitiría ampliar la capacidad de carga o, al menos, esa sería la “excusa” para registrar la patente. Pero hay mucho más.
Examinando los dibujos técnicos, enseguida nos damos cuenta de que el tercer eje cuenta con un motor eléctrico, propulsado por una pequeña batería recargable, que lo convierte en un eje motriz que no está alimentado por una prolongación del árbol de transmisión que llega al segundo eje. Con ello, este pick up se transformaría en un modelo híbrido o híbrido enchufable.
En el fondo, sería una solución similar a la empleada por modelos como los Jeep Compass y Renegade 4xe, que disponen de tracción “térmica” en el eje delantero y tracción “eléctrica” en el trasero. Aquí los dos primeros ejes (o sólo el central-trasero) recibirían par motor del motor térmico, mientras que el tercer eje lo recibiría de un motor eléctrico.

Y lo mejor de todo es que el fabricante explica en la patente que la conversión de un pick up de cuatro ruedas a uno de seis ruedas se puede implementar sin ningún cambio en la suspensión, los neumáticos y la línea motriz del vehículo base, además de ser completamente reversible, al ir todos los componentes atornillados, sin soldaduras adicionales.
Esta solución cuenta con ventajas adicionales como la simplicidad técnica y la eficacia de cara al uso todoterreno del vehículo, que no requeriría bloqueos adicionales de los diferenciales. No hay que olvidar que el Mercedes Clase G 6×6 requiere cinco diferenciales para conservar su tracción total permanente, y los cinco han de ser bloqueables (en tres grupos) si quiere conservar su supremacía todoterreno y evitar que todo el par disponible se escape por una única rueda que gire loca en un desafortunado momento en que esa rueda quede en el aire mientras las demás pisan el suelo.
Este 6×6 podría hacerse realidad… o no
En cualquier caso, no hay que olvidar que infinidad de patentes registradas por los fabricantes acaban guardadas en los cajones de los ingenieros y diseñadores que las han concebido, por lo que el hecho de que Ford haya registrado esta solicitud de patente para su sistema 6×6 híbrido no significa necesariamente que vaya a ponerlo en producción.
Ford, de hecho, lleva una temporada muy fructífera sorprendiéndonos con interesantes ideas en forma de patentes, casi siempre relacionadas con sus todoterrenos (como el Bronco) y pick ups, que por otra parte son los modelos que dan más juego por la flexibilidad que les dota su arquitectura de chasis independiente y carrocerías no estructurales.
Algunas de las otras solicitudes de patente recientes de Ford incluyen un pequeño remolque con un eje motriz eléctrico y un paquete de baterías que proporciona energía de respaldo para el vehículo remolcador eléctrico que permite alimentar también herramientas y electrodomésticos, por no hablar del puesto de conducción de pie del que te hablamos recientemente.

















