Si bien hemos visto muchos inventos en relación con el mundo de los perros, o más bien de las mascotas en general, lo que quizás no esperábamos es que en 2022, alguien como Toyota lanzase una plataforma con la que puede pasear a tu perro aquellos días que tú no tienes ganas o tiempo.

Novedosa patente
Este invento ha sido patentado por la marca japonesa de vehículos Toyota. Es algo muy nuevo y que habrá que ver cómo acaba resultando, pero la realidad es que de primeras, sorprende y llama la atención.
De todos modos, como hemos dicho, es solo una patente y esto no quiere decir que Toyota lo vaya a llevar a la realidad, y más, teniendo en cuenta que faltan bastantes cosas del funcionamiento por explicar por parte de la marca japonesa.

Lo que sabemos
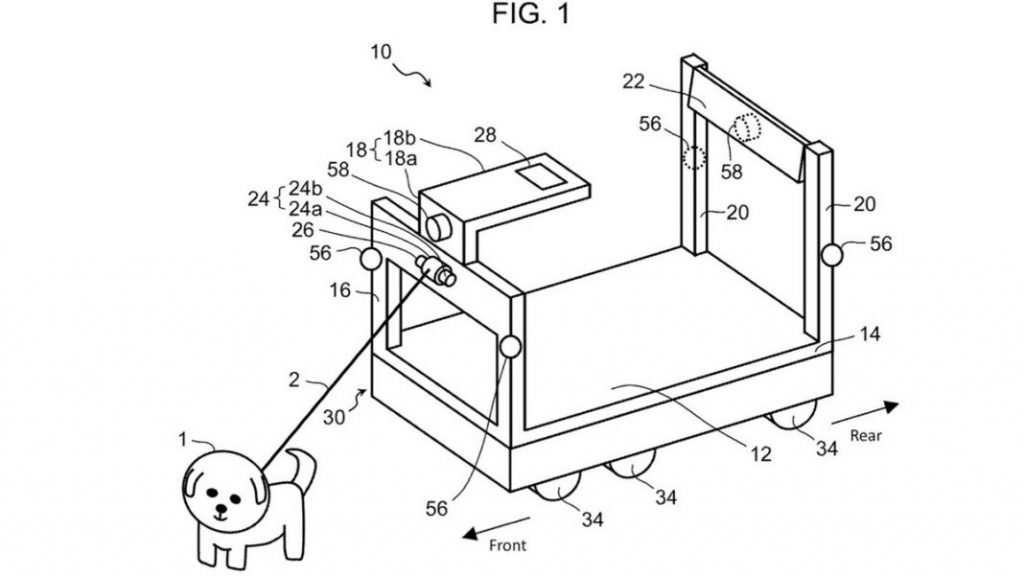
La plataforma creada por Toyota tiene un accesorio que sujeta la correa de tu perro. Además, el mecanismo sería capaz de alargarla o acortarla. El robot tiene incluido un sensor de distancia con el que evitaría que un vehículo atropellase a tu perro, lo que es una característica clave en caso de que algún día salga al mercado.
Por si esto fuera poco, el robot permite que tu perro sea el que controle el movimiento del vehículo, en cuyo caso debería ser mucha la confianza que tendrías que tener en tu mascota para que no se volviese loca.
Si el animal tirase fuerte, la plataforma, como si de un adiestrador se tratase, no continuará su paseo hasta que se destense la correa. En el momento de excreción del perro, lo que haría la plataforma sería captar el patrón de movimientos que se realiza antes de ello, para así poder detenerse en esos momentos. Cuando el perro hiciera pis, el robot rociaría agua por encima y cuando tocase caca, la recogería. Después de ello, tomaría fotos que el dueño podría comprobar posteriormente para saber que su macota ha ido al baño de manera correcta.








